Механизм Диммера (светорегулятора) поворотный 1000W 211GDE Jung
-
-
-
1743
Официальный дистрибьютор. Оптовые продажи. Обмен/возврат.
Сотрудничество: Электрики, Дизайнеры, Строительные компании...!Консультации. Подбор аналогов. Просчет спецификации.
Трудно выбрать электрику? Напишите нам — поможем!Скидки! При заказе от 1000 грн.
Закажите на сумму свыше 1000 грн., и менеджер предоставит скидку!Оплата. Удобным для Вас способом!
При получении, перевод на карту, безнал для физ. и юр. лиц!Гарантия. 12 месяцев от производителя.
Предоставляем гарантию от производителя на срок 12 месяцев!
-
Механизм роторного (поворотного) диммера с нажимным включением для коллекций бренда Jung.
– Основная функция: включение / отключение и плавная регулировка света (Светорегулятор).
– Тип использования: поворотно-нажимной (круглая поворотная клавиша).
– Принцип диммирования: отсечка фазы.
– Тип управляемой нагрузки: резистивная.
– Подходит для ламп: галогенные 230 V~, лампы накаливания 230 V~.
– Номинальное напряжение: 230 V~, 50/60Гц.
– Номинальная нагрузка: 100-1000 Вт.
– Подключение: винтовое.
– Подключение: 2 x 2,5 mm² или 1 x 4 mm²
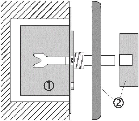
При монтаже роторный диммер (1) должен устанавливаться вместе с крышкой и ручкой регулировки (2).
Подключение – см. рис.1. Подключение проводов к роторному диммеру (1) осуществляется клеммными зажимами, расположенными внизу. Параметры подключаемых нагрузок указаны в технических характеристиках. Схема для включения с 2-х мест – рис.2. Для проходного включения и выключения нагрузки применяется механический выключатель (2). При этом яркость лампы может регулироваться только самим роторным диммером (1).
Артикул товара: 211GDE
– Основная функция: включение / отключение и плавная регулировка света (Светорегулятор).
– Тип использования: поворотно-нажимной (круглая поворотная клавиша).
– Принцип диммирования: отсечка фазы.
– Тип управляемой нагрузки: резистивная.
– Подходит для ламп: галогенные 230 V~, лампы накаливания 230 V~.
– Номинальное напряжение: 230 V~, 50/60Гц.
– Номинальная нагрузка: 100-1000 Вт.
– Подключение: винтовое.
– Подключение: 2 x 2,5 mm² или 1 x 4 mm²
При монтаже роторный диммер (1) должен устанавливаться вместе с крышкой и ручкой регулировки (2).
Подключение – см. рис.1. Подключение проводов к роторному диммеру (1) осуществляется клеммными зажимами, расположенными внизу. Параметры подключаемых нагрузок указаны в технических характеристиках. Схема для включения с 2-х мест – рис.2. Для проходного включения и выключения нагрузки применяется механический выключатель (2). При этом яркость лампы может регулироваться только самим роторным диммером (1).


- Продажа Оптом и в розницу
- Выгодная система скидок
- Консультации при выборе
- Подбор аналогов и Просчет спецификации
- Тип установки: Внутренний
- Производитель: Jung
- Страна бренда: Германия
- Страна производства: Германия
- Тип фурнитуры: Диммер (светорегулятор)
- Серия: A creation, A plus, AS 500, AS 500 (Антибактериальная), AS 500 (Ударопрочная), CD 500, CD plus, LS 990, LS Plus, SL 500, А 500
- Номинальное напряжение: 230 V~
- Сборка изделия: Механизм
- Номинальная нагрузка: 100 — 1000 Ватт
- Выключатели: Диммеры — светорегуляторы
- Тип нагрузки: Резистивная ®
- Тип диммера: Поворотный, Повортно-нажимной
- Управляемые лампы: Галогенные лампы 230V~, Лампы накаливания 220V~
- Диммируемый источник света: Управление — Резистивной нагрузкой (R).
- Номинальная мощность: 100 – 1000 Вт
- Типы управляемых нагрузок: Галогенные лампы — 230 V~, Обычные лампы накаливания
- Сертификаты: Сертификация CE — европейское соответствие., Сертификация Kema-Keur, Сертификация OVE, Сертификация VDE